




За консультациями обращайтесь по тел. (812) 448-29-07(08) или по электронной почте
жби для энергетики










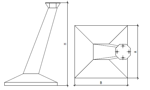
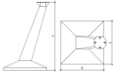
Выбор типов фундаментов производится на основании установочных чертежей, разработанных для каждого типа опоры. На установочных чертежах приводятся: план расположения фундаментов; привязка ригелей, пригрузочных плит; район по гололеду и скоростной напор ветра, а для анкерно-угловых опор – угол поворота на линии. На чертежах фундаментов указывается степень уплотнения грунта засыпки.
При прохождении трассы ВЛ в районах рек, болот, по косогорам применяются повышенные составные подножники типа ФП со сварным – С или болтовым – Б соединениями стойки с нижней частью.
Применение сборных железобетонных элементов опор ВЛ:
· Под промежуточные опоры (Ф1; Ф2; Ф3; Ф4; Ф5; Ф6 и ФС)
· Под промежуточно-угловые опоры (Ф1; Ф2; Ф3; Ф4; Ф5; Ф6 и ФС)
· Под анкерно-угловые опоры (Ф3-Ам; Ф4-Ам; Ф5-Ам; Ф6-Ам и ФС)
· Под стойки опор с оттяжками (Ф3-Ам; Ф4-Ам; Ф5-Ам; Ф6-Ам и ФС)
· Под опоры с башмаками, имеющими два отверстия (Ф1-2; Ф2-2; Ф3-2; Ф4-2; Ф5-2; Ф6-2)
· Под опоры с опорными башмаками, имеющими четыре отверстия (Ф4-4; Ф5-4; Ф6-4)
Применение сборных железобетонных элементов опор ВЛ имеет ряд преимуществ:
· резко снижается трудоемкость устройства фундаментов
· снижаются объемы земляных работ
· уменьшается расход бетона и в конечном счете стоимость сооружения
· применение железобетонных элементов заводского изготовления позволяет выполнять сооружение фундаментов под опоры ВЛ практически в любое время года.
· возможна железнодорожная отправка продукции сборными вагонами.
Шифровка фундаментов основной номенклатуры определяется буквой Ф – фундамент и цифрой, которая указывает типоразмер фундамента. Специальные фундаменты имеют после первой буквы в шифре дополнительную букву С, укороченные – К, повышенные – П. После цифры, обозначающей типоразмер фундамента, через дефис проставляется буква или цифра, указывающая на его применение:
А – под анкерно-угловые опоры; О – под стойки опор с оттяжками; 2 – под опоры с башмаками, имеющими два отверстия; 4 – под опоры с опорными башмаками, имеющими четыре отверстия. В случае установки на фундаментах неосновных вариантов наголовников (с болтами диаметром 48 мм или болтами длиной 350 мм) после буквы А основного шифра через дефис проставляются цифры соответственно 48 или 350.
На нашем предприятии производятся фундаменты только с модернизированным оголовком. В наименовании после буквы А добавляется буква М – модернизированный, например Ф3-АМ, Ф5-АМ.
В шифре вариантов фундаментов со сварным или болтовым соединением стойки с нижней частью после букв ФП и ФС добавляется буква С, обозначающая сварной, или буква Б – болтовой вариант.
Например, ФПС5-А – вариант повышенного фундамента ФП5-А со сварным соединением стойки и нижней части; ФСБ2-4 – вариант специального фундамента ФС-4 с болтовым соединением стойки и нижней части.
Для изготовления железобетонных фундаментов применяется бетон марки 400 и выше (по прочности на сжатие), приготовленный на портландцементе. При наличии на трассе агрессивных к бетону грунтовых вод для приготовления бетона применяется цемент, стойкий к конкретному виду









